A device which converts DC electrical energy to a mechanical energy is known as d.c. motor.
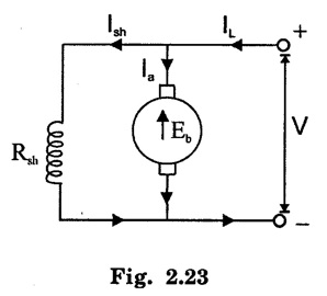
DC MOTOR A device which converts DC electrical energy to a mechanical energy is known as d.c. motor. Its operation is based on the principle that whenever a current carrying conductor is placed in a static magnetic field, it experiencès a mechanical force. This force is employed on the conductor and hence the conductor is moved away from the field. The direction of this force is given by fleming's left hand rule and magnitude is given by F = BIl newtons Generally, there is no constructional difference between de motor and dc generator. The major parts of a d.c. motor are yoke or frame, main field system, brushes, armature and commutator. It states that if the fore finger, middle finger and thumb of left hand are extended mutually perpendicular to each other and if the fore finger represents the direction of magnetic field, middle finger indicates the direction of electric current, then the thumb represents the direction in which force is experienced by the shaft of the dc motor. A dc supply is connected to both the armature and field windings, it passes current in the armature winding through brushes and commutator. When the armature conductors carrying current in the presence of magnetic field, they experiences a force due to electromagnetic torque on the armature conductors, the armature starts rotating. When the armature rotates in the magnetic field, it cuts the magnetic flux. According to the electromagnetic induction, an emf is induced in the armature conductors. But according to lenz's law, this induced emf will oppose the voltages applied to the armature, hence it is called Counter emf or back emf. A potential drop also occurs in the armature circuit due to the armature resistance. The back emf like in case of a generator is represented by Where, P = no of poles ϕ = flux per pole z = No. of conductors A = No. of parallel paths and N is the speed of the DC Motor. From the above equation, it is noted that, Eb is proportional to speed 'N'. That is whenever a d.c. motor rotates, it results in the generation of back Emf. Figure 2.22 shows electrical equivalent circuit of dc motor. Eb = back emf in volts. Ia = current flowing in armature circuit in amperes. Ra = resistance of armature circuit in volts. V = applied voltage in volts. Thus characteristics of de motor or voltage equation of a dc motor is V = Eb + Ia Ra Where, IaRa represents the potential drop in the armature circuit. If the motor speed is high, back emf is large and hence armature current is small. If the motor speed is low, back emf is less and hence armature current is more. 1. Voltage Equation of DC motor Let in a d.c motor V = applied voltage Eb = back e.m.f. Ra = armature resistance Ia = armature current Since back emf Eb acts in opposition to the applied voltage V, the net voltage across the armature circuit is V - Eb. The armature current Ia is given by : This is known as voltage equation of the d.c. motor. If equation (3), is multiplied by Ia throughout, we get VIa = EbIa + Ia2 Ra This is known as power equation of the d.c. motor. VIa = electric power supplied to armature (armature input) EbIa = mechanical power developed by armature (armature output) Ia2 Ra - electric power wasted in armature (armature Cu loss) Thus out of the armature input, a small portion (about 5%) is wasted as- Ia2 Ra and the remaining portion EbIa is converted into mechanical power within the armature. The mechanical power developed by the motor is Pm = EbIa Now, Pm = VIa - Ia2 Ra Since, V and Ra are fixed power developed by the motor depends upon armature current. For maximum power Principle:
Fleming's left hand rule:

Working of d.c. motor:





2. Power Equation
3. Condition for maximum power


Basic Electrical and Electronics Engineering: Unit II: Electrical Machines : Tag: : Principle, Fleming's left hand rule, Working of d.c. motor, - Operation Working Principle of DC Motor
Basic Electrical and Electronics Engineering
BE3251 2nd semester Mechanical Dept | 2021 Regulation | 2nd Semester Mechanical Dept 2021 Regulation
Basic Electrical and Electronics Engineering
BE3251 2nd Semester CSE Dept 2021 | Regulation | 2nd Semester CSE Dept 2021 Regulation